فروش لرزه گیر لاستیکی ارتعاشات صنعتی ایران مدل BL-72
(BL-72 Rubber Expansion Joint – IIVCO)
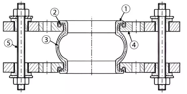
لرزه گیر لاستیکی ۷۲-BL یک اتصال ارتجاعی لاستیکی فلنج دار مهاردار ساخت شرکت «ارتعاشات صنعتی ایران» است. این لرزه گیر شامل دو فلنج چدنی، جداره لاستیکی و دو مهار پیچی است و برای جذب ارتعاشات و شوکهای هیدرولیکی خطوط لوله به کار میرود.
با نصب لرزه گیر ۷۲-BL در مسیرهای خروجی یا مکش پمپ ها، کمپرسورها و توربینها می توان لرزش و ضربه قوچ را کاهش داد؛ بهعنوان مثال این محصول در قسمت Suction و Discharge پمپ ها نصب میشود تا علاوه بر جذب ارتعاشات، از انتقال ضربه قوچ جلوگیری کند.
🔧 ویژگی ها و مزایای لرزه گیر لاستیکی 72
🔹 ساخت شرکت ارتعاشات صنعتی ایران با کیفیت بالا
🔹 دارای فلنج چدنی مقاوم در برابر فشار و خوردگی
🔹 بالشتک لاستیکی با دوام بالا برای جذب لرزش و شوک
🔹 مجهز به مهار پیچی جهت جلوگیری از انتقال نیرو به لوله ها
🔹 مناسب برای کاربرد در سیستم های صنعتی، تأسیساتی و پمپاژ آب و سیالات

🧪 استانداردها و آزمون ها
✅ طراحی و تولید مطابق با استانداردهای بینالمللی
✅ تست فشار هیدرواستاتیک: 1.5 برابر فشار کاری
✅ تست نشتی: مطابق با استانداردهای مربوطه
✅ پوشش ضد خوردگی فلنجها: رنگ اپوکسی با ضخامت مناسب
- این لرزه گیر در سایزهای ۱¼ اینچ (DN 32) تا ۱۰ اینچ (DN 250) تولید میشود که مطابق استانداردهای فلنج DIN یا ANSI سوراخکاری شده است
- لرزه گیر ۷۲-BL مطابق استانداردهای «ارتعاشات صنعتی ایران» تولید شده و تحت کنترل کیفیت دقیق قرار میگیرد. معمولا پس از تولید، هر قطعه تحت آزمون فشار هیدرواستاتیک (معمولاً ۱.۵ برابر فشار نامی کاری) و آزمون نشتی قرار میگیرد تا کارایی و آببندی آن تأیید شود.
- همچنین کارخانه سازنده دارای گواهی ISO 9001 و ISO 14001 است و تضمین میکند محصولات مطابق استانداردهای بینالمللی تست و کنترل شوند. مطابق اطلاعات موجود، «فشار کاری» این لرزه گیرها تا ۱۰ و ۱۶ بار است و برای دمای کاری تا حدود ۶۰–۹۰ درجه سانتیگراد طراحی شدهاند
📊 جدول مشخصات فنی لرزه گیر 72-BL
لرزه گیر لاستیکی BL-72 از محصولات باکیفیت شرکت ارتعاشات صنعتی ایران است که برای کاهش و کنترل لرزش در خطوط لوله و سیستمهای پمپاژ به کار میرود. این لرزهگیر در سایزهای ۱¼ اینچ (DN 32) تا ۱۰ اینچ (DN 250) تولید و عرضه میشود و دارای دو فلنج چدنی مقاوم به همراه بالشتک لاستیکی انعطافپذیر است.
وجود دو مهار پیچی (Tie Rod) در ساختار این لرزهگیر باعث میشود تا نیروی تراست (Thrust Force) در خطوط لوله مهار شود و از کشیدگی و آسیب احتمالی به اتصالات جلوگیری گردد.
به همین دلیل مدل BL-72 گزینهای مطمئن برای سیستمهای آب، فاضلاب، نفت، گاز، پتروشیمی و تهویه مطبوع (HVAC) محسوب میشود.

اجزای اصلی لرزه گیر ۷۲-BL از مواد زیر ساخته شدهاند: فلنجها از چدن نشکن (Cast Iron) با پوشش محافظ هستند.
بدنه لاستیکی (بلدر) از لاستیک های طبیعی یا مصنوعی (NR, NBR, SBR, EPDM) تولید میشود که با لایههای تقویتکننده بافته شده است.
مهارها و پینهای اتصال از فولاد کربنی یا فولاد زنگنزن ساخته میشوند تا پایداری کافی در برابر نیروی تراست فراهم شود.
وارهای آببندی (بیدوایر) و سایر قطعات نگهدارنده معمولا از فولاد ضدزنگ یا کربنی تهیه میشوند. در کل، مواد بهکار رفته در این لرزه گیر مطابق استانداردهای بینالمللی برای اطمینان از دوام و کارایی انتخاب شدهاند.
📐 مشخصات ابعاد بدنه اصلی لرزه گیر لاستیکی ارتعاشات صنعتی ایران مدل BL-72
لرزه گیرهای لاستیکی BL-72 با طراحی دقیق و بدنه مستحکم، متناسب با نیاز صنایع مختلف تولید شدهاند. در جدول زیر، ابعاد فنی مربوط به بدنه اصلی (Body Dimensions) این مدل ارائه شده است تا کاربران بتوانند در انتخاب سایز مناسب بر اساس استاندارد خط لوله خود تصمیمگیری کنند.
⚙️ جدول مشخصات ابعادی لرزه گیر BL-72
| سایز (اینچ) | R.I.D (mm) | R.O.D (mm) | R.H (mm) |
|---|---|---|---|
| 1¼ | 34 | 80 | 95 |
| 1½ | 38 | 80 | 95 |
| 2 | 50 | 90 | 95 |
| 2½ | 60 | 101 | 100 |
| 3 | 70 | 113 | 100 |
| 4 | 96 | 138 | 100 |
| 5 | 120 | 162 | 117 |
| 6 | 152 | 191 | 120 |
| 8 | 195 | 257 | 120 |
| 10 | 255 | 313 | 129 |
| 12 | – | – | – |
🔍 نکات فنی مهم
🧩 R.I.D (قطر داخلی بدنه): نشاندهنده قطر داخلی لرزهگیر برای اتصال به خط لوله است.
⚙️ R.O.D (قطر خارجی): بیانگر میزان قطر بیرونی بدنه اصلی لرزهگیر است.
📏 R.H (ارتفاع): ارتفاع لرزهگیر از محل اتصال تا انتهای بدنه را مشخص میکند.
📌 برای مشاهده ابعاد کامل، به کاتالوگ جامع لرزه گیرهای لاستیکی مراجعه فرمایید.

🔩 سوراخ کاری فلنج لرزه گیر لاستیکی BL-72 بر اساس استاندارد CL 150
لرزه گیرهای لاستیکی BL-72 شرکت ارتعاشات صنعتی ایران با فلنج های چدنی مقاوم طراحی شدهاند که سوراخکاری آنها مطابق با استاندارد ANSI / ASME B16.5 کلاس 150 (CL 150) انجام میشود.
این نوع سوراخکاری باعث میشود اتصال فلنج لرزه گیر به تجهیزات و خطوط لوله استاندارد صنعتی بهصورت دقیق، ایمن و بدون نشتی انجام شود.
⚙️ جدول سوراخکاری فلنج لرزه گیر BL-72 (بر اساس CL 150)
| F.O.D (mm) | R.C.D (mm) | N.H (تعداد سوراخ) | F.H.D (قطر سوراخ mm) | F.T (ضخامت فلنج mm) |
|---|---|---|---|---|
| 118 | 88.9 | 4 | 15.9 | 15 |
| 127 | 98.4 | 4 | 15.9 | 15 |
| 153 | 120.6 | 4 | 19 | 15 |
| 178 | 139.7 | 4 | 19 | 15 |
| 191 | 152.4 | 4 | 19 | 18 |
| 229 | 190.5 | 8 | 19 | 18 |
| 254 | 215.9 | 8 | 22.2 | 18 |
| 280 | 241.3 | 8 | 22.2 | 20 |
| 343 | 298.4 | 8 | 25.4 | 20 |
| 407 | 361.9 | 12 | 25.4 | 20 |
| 483 | 432 | 12 | 25.4 | 20 |
🔍 توضیح پارامترها
F.O.D: قطر بیرونی فلنج (Flange Outside Diameter)
R.C.D: قطر دایره پیچ (Bolt Circle Diameter)
N.H: تعداد سوراخهای فلنج (Number of Holes)
F.H.D: قطر سوراخهای فلنج (Flange Hole Diameter)
F.T: ضخامت فلنج (Flange Thickness)
💡 نکته فنی:
انتخاب لرزه گیر با الگوی سوراخکاری استاندارد CL 150 موجب:
🔹 اتصال راحتتر به پمپها، شیرآلات و خطوط لوله
🔹 کاهش احتمال نشتی در محل اتصال
🔹 افزایش دوام و مقاومت در برابر فشارهای مکانیکی
⚙️ جدول سوراخ کاری فلنج لرزه گیر BL-72 (بر اساس PN 10)
| F.O.D (mm) | R.C.D (mm) | N.H (تعداد سوراخ) | F.H.D (قطر سوراخ mm) | F.T (ضخامت فلنج mm) |
|---|---|---|---|---|
| 140 | 100 | 4 | 18 | 15 |
| 150 | 110 | 4 | 18 | 15 |
| 165 | 125 | 4 | 18 | 15 |
| 185 | 145 | 4 | 18 | 15 |
| 200 | 160 | 8 | 18 | 18 |
| 220 | 180 | 8 | 18 | 18 |
| 250 | 210 | 8 | 18 | 18 |
| 285 | 240 | 8 | 22 | 20 |
| 340 | 295 | 8 | 22 | 20 |
| 395 | 350 | 12 | 22 | 20 |
| 445 | 400 | 12 | 22 | 22 |
🔍 توضیح پارامترهای جدول
F.O.D (Flange Outer Diameter): قطر بیرونی فلنج
R.C.D (Bolt Circle Diameter): قطر دایره سوراخ پیچها
N.H (Number of Holes): تعداد سوراخهای فلنج
F.H.D (Flange Hole Diameter): قطر هر سوراخ
F.T (Flange Thickness): ضخامت فلنج
💡 مزایای طراحی بر اساس استاندارد PN 10
🔹 سازگار با اتصالات و شیرآلات استاندارد اروپایی
🔹 نصب آسان بر روی خطوط لوله صنعتی
🔹 مقاومت بالا در برابر فشارهای کاری تا 10 بار
🔹 جلوگیری از نشتی در محل اتصال با آببندی دقیق
🔩 سوراخکاری فلنج لرزه گیر لاستیکی BL-72 بر اساس استاندارد PN 16
لرزه گیرهای لاستیکی BL-72 از محصولات باکیفیت شرکت ارتعاشات صنعتی ایران هستند که در مدلهای مختلف و با فلنجهایی مطابق با استاندارد PN 16 تولید میشوند.
استاندارد PN 16 بیانگر قابلیت تحمل فشار اسمی تا 16 بار (16 bar) است که این نوع فلنج را برای سیستمهای تحت فشار بالا در صنایع مختلف از جمله نفت، گاز، بخار و تأسیسات حرارتی ایدهآل میسازد.
⚙️ جدول سوراخ کاری فلنج لرزه گیر BL-72 (بر اساس PN 16)
| F.O.D (mm) | R.C.D (mm) | N.H (تعداد سوراخ) | F.H.D (قطر سوراخ mm) | F.T (ضخامت فلنج mm) |
|---|---|---|---|---|
| 140 | 100 | 4 | 18 | 15 |
| 150 | 110 | 4 | 18 | 15 |
| 165 | 125 | 4 | 18 | 15 |
| 185 | 145 | 4 | 18 | 15 |
| 200 | 160 | 8 | 18 | 18 |
| 220 | 180 | 8 | 18 | 18 |
| 250 | 210 | 8 | 18 | 18 |
| 285 | 240 | 8 | 22 | 20 |
| 340 | 295 | 12 | 22 | 20 |
| 405 | 355 | 12 | 26 | 20 |
| 460 | 410 | 12 | 26 | 22 |
🔍 توضیح پارامترها
F.O.D: قطر بیرونی فلنج (Flange Outer Diameter)
R.C.D: قطر دایره پیچها (Bolt Circle Diameter)
N.H: تعداد سوراخها (Number of Holes)
F.H.D: قطر هر سوراخ فلنج (Flange Hole Diameter)
F.T: ضخامت فلنج (Flange Thickness)
⚙️ مزایا و ویژگیهای فلنج PN 16
🔹 تحمل فشار کاری بالا تا 16 بار
🔹 مناسب برای کاربرد در خطوط بخار، سیستمهای حرارتی و صنعتی سنگین
🔹 سازگار با استانداردهای اروپایی DIN و ISO
🔹 اتصال مطمئن، مقاوم و بدون نشتی
🔹 امکان سوراخکاری مطابق انواع استانداردهای بینالمللی
🌍 قابلیت تطبیق با استانداردهای مختلف
💡 امکان سوراخکاری اتصالات لرزهگیر BL-72 مطابق با استانداردهای مختلف از جمله ISO، DIN، ANSI، BS و سایر استانداردهای صنعتی وجود دارد.
این قابلیت باعث میشود محصول قابل استفاده در پروژههای بینالمللی و خطوط لوله با استانداردهای متفاوت باشد.
🧰 کاربرد لرزه گیر لاستیکی ارتعاشات صنعتی ایران BL-72
🏭 صنایع نفت، گاز و پتروشیمی
💧 سیستم های آبرسانی و فاضلاب
🌡️ تأسیسات حرارتی و برودتی
🌀 سیستم های تهویه مطبوع (HVAC)
🚰 ایستگاه های پمپاژ آب و خطوط لوله صنعتی
لرزه گیر لاستیکی ۷۲-BL عمدتاً برای کنترل لرزش و ضربههای هیدرولیکی در سیستمهای لولهکشی صنعتی به کار میرود. بهویژه در خطوط پمپاژ آب، فاضلاب، نفت و گاز کاربرد دارد؛ مثلاً نصب آن در ورودی یا خروجی پمپها باعث جذب شوکهای ناگهانی و حذف ضربه قوچ میشود.
این لرزه گیرها در صنایع نفت، گاز، پتروشیمی، نیروگاهی، تولید برق، مواد غذایی، فولاد و تاسیسات آب و فاضلاب بسیار پرکاربرد هستند. ویژگی بارز لرزه گیرهای لاستیکی نسبت به سایر اتصالات (مثلاً آکاردئونی) استفاده آسان و عملکرد بهتر در محیطهای خورنده است.
مچنین مانع از انتقال انرژی ارتعاش به تجهیزات حساس میشود و طول عمر سیستم لولهکشی را افزایش میدهد.
📥 دانلود کاتالوگ محصولات ارتعاشات صنعتی ایران
📄 دانلود کاتالوگ جامع لرزه گیرهای لاستیکی

💰 لیست قیمت لرزه گیر لاستیکی ارتعاشات صنعتی ایران مدل BL-72
در حال حاضر قیمت لرزهگیرهای لاستیکی مدل BL-72 از برند معتبر ارتعاشات صنعتی ایران در حال بهروزرسانی است.
برای دریافت استعلام قیمت دقیق، موجودی روز و مشاوره خرید فنی، لطفاً با واحد فروش تماس حاصل نمایید.
کارشناسان ما آمادهاند تا بر اساس سایز، فشار کاری و نوع فلنج، بهترین گزینه را برای پروژه شما پیشنهاد دهند.
📋 جدول قیمت لرزه گیر لاستیکی BL-72
| ردیف | شرح محصول | قیمت (تومان) |
|---|---|---|
| 1 | قیمت لرزهگیر لاستیکی ارتعاشات صنعتی ایران BL-72 سایز 1¼ اینچ | تماس بگیرید |
| 2 | قیمت لرزهگیر لاستیکی ارتعاشات صنعتی ایران BL-72 سایز 1½ اینچ | تماس بگیرید |
| 3 | قیمت لرزهگیر لاستیکی ارتعاشات صنعتی ایران BL-72 سایز 2 اینچ | تماس بگیرید |
| 4 | قیمت لرزهگیر لاستیکی ارتعاشات صنعتی ایران BL-72 سایز 2½ اینچ | تماس بگیرید |
| 5 | قیمت لرزهگیر لاستیکی ارتعاشات صنعتی ایران BL-72 سایز 3 اینچ | تماس بگیرید |
| 6 | قیمت لرزهگیر لاستیکی ارتعاشات صنعتی ایران BL-72 سایز 4 اینچ | تماس بگیرید |
| 7 | قیمت لرزهگیر لاستیکی ارتعاشات صنعتی ایران BL-72 سایز 5 اینچ | تماس بگیرید |
| 8 | قیمت لرزهگیر لاستیکی ارتعاشات صنعتی ایران BL-72 سایز 6 اینچ | تماس بگیرید |
| 9 | قیمت لرزهگیر لاستیکی ارتعاشات صنعتی ایران BL-72 سایز 8 اینچ | تماس بگیرید |
| 10 | قیمت لرزهگیر لاستیکی ارتعاشات صنعتی ایران BL-72 سایز 10 اینچ | تماس بگیرید |
📞 نحوه استعلام قیمت لرزه گیر لاستیکی 72
🎯برای خرید لرزه گیر لاستیکی ۷۲-BL و اطلاع از قیمت آن، با شماره زیر تماس بگیرید. تیم فروش ما آماده ارائه مشاوره و ارسال لیست قیمت ها به شما هستند.
نمایندگی فروش انواع لرزه گیر لاستیکی ارتعاشات صنعتی ایران BL-72، لطفا جهت استعلام قیمت خرید، سفارش، دریافت مشخصات فنی و دانلود کاتالوگ با واحد مشاوره فنی در ارتباط باشید.
برای اطلاع از قیمت روز و سفارش عمده یا پروژه ای، میتوانید از طریق راه های زیر اقدام کنید:
☎️ تماس با واحد فروش و پشتیبانی فنی : 09121119731
🧾 ارسال درخواست پیش فاکتور از طریق فرم تماس سایت 📧 لینک : فرم تماس و ارتباط با ما
📧 استعلام از طریق پیامرسان واتساپ
💡 نکات مهم پیش از خرید
🔹 قیمت لرزه گیرها با توجه به نوع فلنج (PN10، PN16 یا CL150) و جنس لاستیک (EPDM، NBR، Neoprene و …) متفاوت است.
🔹 قبل از ثبت سفارش، فشار کاری، دمای محیط و نوع سیال بررسی شود تا انتخاب دقیقی انجام گیرد.
🔹 امکان تولید سفارشی با متریال خاص یا استانداردهای بینالمللی نیز وجود دارد.




2 دیدگاه برای لرزه گیر لاستیکی ۷۲-BL
faramarz –
لرزه گیر لاستیکی کارش چیه
علی –
لیست قیمت لرزه گیر لاستیکی ۷۲-BL ؟